igus-icon-lupe
igus-icon-lupe
igus-icon-lupe
igus-icon-lupe
1 of 4
igus-icon-arrow-left
igus-icon-arrow-right
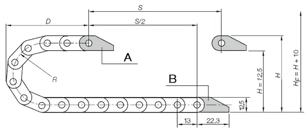
ความสูงภายใน [Hi]
10.3 mm
เส้นผ่านศูนย์กลางของสายเคเบิลสูงสุด
8 mm

หลักการเปิด
ไม่สามารถเปิดได้
ความกว้างด้านใน [Bi]
6 mm
รัศมีการโค้งงอ [R]
18 mm
การใช้งาน
igus-icon-checkไม่รองรับ
การเลื่อน
การแขวน
Energy chain
igus-icon-lieferzeit-dot045.06.018.0618

